水底の岩盤掘削法
技術の概要
- 一般的にはCD工法等によるオールケーシング工法が適用されますが、CD工法の前にダウンザホールによる補助工法が必要となることが多く、高コスト化、工期の長期化を招く恐れがありました。
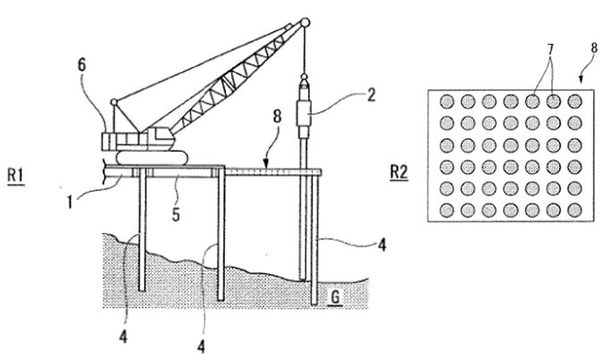
- ダウンザホールハンマーで鋼管杭を先行して建込み((b))、クレーンで作業床を設置します((c))。この鋼管杭先行建込みと作業床設置の工程を繰返して((d)~(f))掘削対象領域(水底掘削範囲)まで施工した後、テンプレートを設置しダウンザホールハンマーを使って等間隔に水底岩盤に複数の掘削孔を穿孔します((g))。その後、テンプレートと不要となった鋼管杭の撤去を行い、クラブバケットなどを用いて掘削対象領域を掘削します。掘削が完了したら、次の作業床をテンプレートに代え、岩盤削孔~掘削を行います((h)~(j))。
- ダウンザホールハンマーで鋼管杭を先行して建込み、クレーンで作業床を設置する。この工程を繰返して掘削対象領域(水底掘削範囲)まで施工した後、テンプレートを使用してダウンザホールハンマーを使って等間隔に水底岩盤に複数の掘削孔を穿孔する。その後、鋼管杭を撤去した後、クラブバケットなどを用いて掘削対象領域の掘削を行う工程を繰返し行います。
- ダウンザホールハンマーとクラブバケットを用いて掘削対象領域の岩盤を所定深度まで掘削します。


特許リスト
- 特許6544556「水底の岩盤掘削方法」
実施技術(許諾対象技術)
作業床設置~穿孔~掘削~作業床撤去を繰り返す岩盤掘削工事
実施許諾条件
初年度100万円+2年度以降30万円/年
想定されるライセンシー
ゼネコン
その他
共同開発者:なし